安全矩阵

 找回密码
 立即注册
搜索
查看: 2485|回复: 0

【渗透测试实战系列】|41-记一次色*情app渗透测试

[复制链接]

991

主题

1063

帖子

4319

积分

论坛元老

Rank: 8Rank: 8

积分
4319
发表于 2022-2-20 14:01:11 | 显示全部楼层 |阅读模式
原文链接:【渗透测试实战系列】|41-记一次色*情app渗透测试


作者:多吃点才可爱来源:http://r6d.cn/VRhr

前言:

某个星期六的晚上,我还在挖 edusrc ,刚 getshell 内网漫游完(纯属放屁哈哈哈)准备下机睡觉,修君表哥给我发了某站(表哥们懂的,疯狂暗示),我打开一看,WC好东西,不渗透一波怎么能对得起它呢?

背景:

找到某app的界面:

咳咳,表哥们别想太多哈,本人纯情小处男,啥都不知道啥都不懂


看了看功能点,有一个注册的地方,但是注册的时候居然要邀请码!!!真的很没意思,一点互联网资源共享精神都没,这就很过分了,这么好的东西怎么能吃独食??必须安排一波

过程:

看了看功能点,有一个注册的地方,但是注册的时候居然要邀请码!!!真的很没意思,一点互联网资源共享精神都没,这就很过分了,这么好的东西怎么能吃独食??必须安排一波,没办法,看着到手的资源就要飞了,于心不忍啊,于是将app放到虚拟机,通过抓包拿到其真实域名


然后利用bp的爬虫爬到一处api接口


提示参数缺失 fuzz一波参数
fuzz.jpg (自行脑部bp fuzz图 忘了截图了)

http://www.xxxxxxx.cn/api/index/tab3?p=1&t=3&v=0&s=0
然后就是一波中奖

但是不是DBA 也无法写文件 数据库实在太乱了 懒得一个一个的读
目前后台地址也还没找到 而且这个站及其的卡 思路完全乱了,,
想着先利用注入搞一个账号出来 然后登录该app,,看看app内有无什么可利用的
但是除了一处留言反馈准备测试xss之外,就是各种诱惑。。。。
留言框只允许中文以及中文符号,但是却是使用js进行验证,抓包即可绕过

对着该处留言框就是一顿乱插
中途等了大概10分钟 就当我以为要失败的时候

果然,,菜逼运气好==
拿到后台登录地址 虽然没有cookie 但是利用注入点读出了后台账号密码



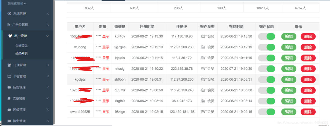
最后登陆后台



看了看后台,app总用户达到1w+…一天用户增加500+


翻了下后台的功能,,发现一处图片上传,而且似乎是js验证的图片类型

但是在实际上传中 各种失败,应该是前台js验证+后端功能让所有上传的文件强制改名为.jpg
接下来的事就比较好玩了,虽然拿到了后台,但是没法突破,没卵用
于是我添加了后台留的一个QQ号

对方秒通过,经过简单的交流,发现他是这套程序的二开作者,售卖给别人被别人用来当作淫秽视频传播盈利网站了。于是我就将计就计,先唬住他(我摊牌了,我是演员)
这个地方 hw 和授权书只是我骗他的==
各位表哥看着爽就行

甚至他把他的网站后台账号密码都给我了。。。

tips:以上内容都是瞎编的,大佬们不要当真!
通过他提供的部分上传验证源码,发现是后段对上传文件强制改名了,我人都傻了,大佬们有绕过思路可以在下方评论
最后还是没拿到shell等等,,也就是只止步于后台了。
一方面是这个后台实在太鸡儿卡了,动不动无法响应
另一方面就是漏洞利用手法没有全面利用,导致忽略了很多getshell的姿势,还是太菜了呜呜呜,表哥们轻喷。

END


回复

使用道具 举报

您需要登录后才可以回帖 登录 | 立即注册

本版积分规则

小黑屋|安全矩阵

GMT+8, 2025-11-17 09:57 , Processed in 0.013424 second(s), 18 queries .

Powered by Discuz! X4.0

Copyright © 2001-2020, Tencent Cloud.

快速回复 返回顶部 返回列表